Jednotka na úpravu vzduchu GAV FRL-200
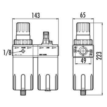
Modulová jednotka pro úpravu stlačeného vzduchu 3/8" a 1/2" sestává ze tří částí (regulátor tlaku, filtr s odlučovačem vody a olejovač), které jsou doplněné o tlakoměr.- kompaktní provedení (minimální zástavbové rozměry) pro instalaci i v omezeném prostoru
- regulační ventil s plynule nastavitelným tlakem stlačeného vzduchu
- kontrolní tlakoměr 0 – 16 bar se dá našroubovat z obou stran jednotky
- filtr stlačeného vzduchu s filtrací 10 µ a nádobkou s kohoutem pro zkondenzovanou / odloučenou vodu s poloautomatickým nebo manuálním odpouštěním
- olejovač stlačeného vzduchu s nastavitelným množstvím přidávaného oleje a doplňovacím uzávěrem, který umožňuje zajistit požadované dávkování jemné olejové mlhy s optimálním poměrem proudícího vzduchu a oleje
- 2 ks adaptérů pro připojení 1/2" vnitřní závit
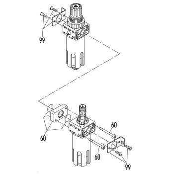
- pro případnou instalaci na stěnu je součástí dodávky sada 2 držáků a 4 upevňovacích šroubků
- snadná obsluha, minimální údržba, provozní spolehlivost a dlouhá životnost
- v praxi nezbytné příslušenství rozvodů stlačeného vzduchu pro napájení pneumatického nářadí a zařízení a jejich spolehlivou funkci
- vysoká kvalita garantovaná renomovaným italským výrobcem
Parametry:
|
průtok maximální tlak vzduchu regulační rozsah tlaku vzduchu provozní teplota filtrační vložka regulační rozsah olejovače připojovací závity rozměry hmotnost |
5000 l / min (min. 6 bar) 16 bar 0,5 až 10 bar max. 60°C (při max. tlaku) 10 µ 1 kapička každých 300 – 600 l / min 2 x 3/8" vnitřní závit, 2 x adaptér 1/2" 143 x 65 x 223 mm 1332 g |
Objednávka tovaru
3410000000040
FRL-200
FRL-200
GAV FRL200 3/8 - jednotky na úpravu vzduchu
skladom: Turnov CZ (4)
skladom: Turnov CZ (4)
€ 92,90




