Pojízdný pneumaticko-hydraulický dílenský zvedák Compac A10T-HC
Pojízdný pneumaticko-hydraulický dílenský zvedák s nosností 10 t má nízkou konstrukční výšku a spolehlivou hydrauliku s ochranou proti přetížení.
- malá výška zvedacího talíře v nejnižší poloze (150 mm) a navíc dlouhý podvozek zvedáku umožňují najetí zvedáku i pod vozidla s nízkým podvozkem
- součástí dodávky je i prodlužovací nástavec
- rychlé a tiché / méně než 70 dB(A) / pneumatické čerpadlo
- pneumatické komponenty mají ochranu proto korozi
- zvedání i spouštění vozidla se provádí pneumaticky, jednoduchá a bezpečná obsluha pomocí ovládací páčky na rukojeti
- pro obsluhu příjemná ergonomická rukojeť s bezpečnou pojistkou proti nechtěnému spuštění (systém vyžaduje zvednutí tyče a otočení)
- spouštěcí systém umožňuje spouštění vozidla různou rychlostí podle volby obsluhy
- bezpečnostní regulační ventil spouštění pro bezpečné spouštění i při maximální zátěži
- vestavěný přetlakový ventil zabraňuje přetížení
- robustní plně svařovaná konstrukce z vysoce kvalitní oceli
- 4 ocelová kolečka (2 otočná) a 2 gumová vzduchem plněná kolečka
- kvalitní, antikorozní a mechanicky odolná prášková povrchová úprava
- velmi dlouhá životnost, provozní spolehlivost a minimální nároky na údržbu
- vysoká kvalita zaručená renomovaným dánským výrobcem
- na celou řadu dánských zvedáků Compac se poskytuje záruka 3 roky!
Technické parametry
| Nosnost | 10 t |
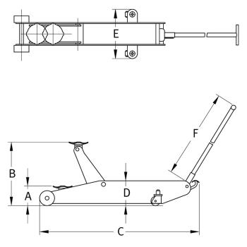
| Minimální výška (A) | 150 mm |
| Maximální výška (B) | 780 mm (s prodloužením) |
| Délka podvozku (C) | 1380 mm |
| Konstrukční výška (D) | 225 mm |
| Šířka (E) | 390 mm |
| Délka ovládací tyče (F) | 1200 mm |
| Hmotnost | 112 kg |
| Stlačený vzduch | 8 – 10 bar |
| Spotřeba | minimálně 300 l/min |
| Provozní teplota | -5 °C až +40 °C |
Objednávka tovaru
0800009140701
914070-1
COMPAC A10T-HC Pojízdný dílenský zvedák 10t
na objednávku
€ 1 996,00